位置:产品中心 > 石墨换热器
上一页:YK,FK型块孔式石墨换热器
下一页:鸟笼式、插入式石墨换热器
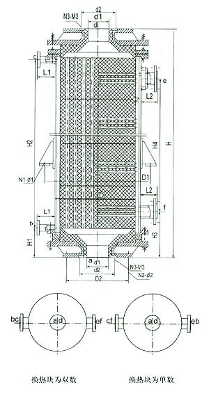
YKC型圆块孔式石墨换热器


结构与特点:

  该系列采用聚四氟乙烯密封且加装压力弹簧作补偿装置。在石墨块上钻有两组不相通的流道,且这两组之间成直角,两种不同流体通过这两组流道达到热交换的目的。具有传热效率高、稳定可靠、抗冲击和检修方便等优点。换热面积可达800平方米。

技术特性:

  许用温度:-40~165℃

  许用压力:≤0.4MPa



手机扫一扫

产品类目:

南通天辰石墨设备有限公司

地址: 江苏省南通市港闸区碳素路北

热线: 13901488425 (24小时)

电话: 0513-85548096

传真: 0513-85562185

网址:www.nttcsm.com

邮箱: nttcsm@126.com

电脑版触屏版

苏ICP备12020764号   南通天辰石墨设备有限公司